Peeling Mechanism for 3D SLA Printer

DE102014114333 A1

Separating the last layer from the vat is always a delicate task. We twist the vat with 4 motors with excentered axis on each vat edge for some microns consecutively in order to avoid lifting the full layer at once. See also: https://geniusprinters.com

 

Drum Printer

E102014019392.6

The invention relates to a method and an apparatus for producing three-dimensional objects by means of a drum in which MEMS printheads are mounted cascadingly over the printing length one behind the other. The drum rotation steers the print head to the desired point to which a liquid is sprayed (eg, resin). Subsequent strips (eg UV LEDs) harden the object. A very fast process in the smallest possible space, with less mechanical effort than common systems need. The invention also relates to an apparatus for carrying out the method in which the printing drum is cylindrical and is stored vertically and allows the continuous production of several objects with different material properties and colors (Fig. 2c), by running the Tischverfahrebenen run. From my point of view the only method that could replace injection molding.

 

Giant Printer -Turning Valve Print-head

DE102015016823.1

This patent presents a method for producing three-dimensional objects via a rotary throughput and shape variable nozzle, high viscosity dyeable resin and ceiling-mounted robot arm for creating printing that is as vertical as possible relative to the previously created layer, regardless of fixed layer heights and widths. A boxless design, whose scalability is hardly limited and which can produce almost full-color, life-size objects of previously barely printable size both extremely fast and detailed. Areas of application: prototype construction, large models, furniture industry, car design, illustrative objects, etc

 

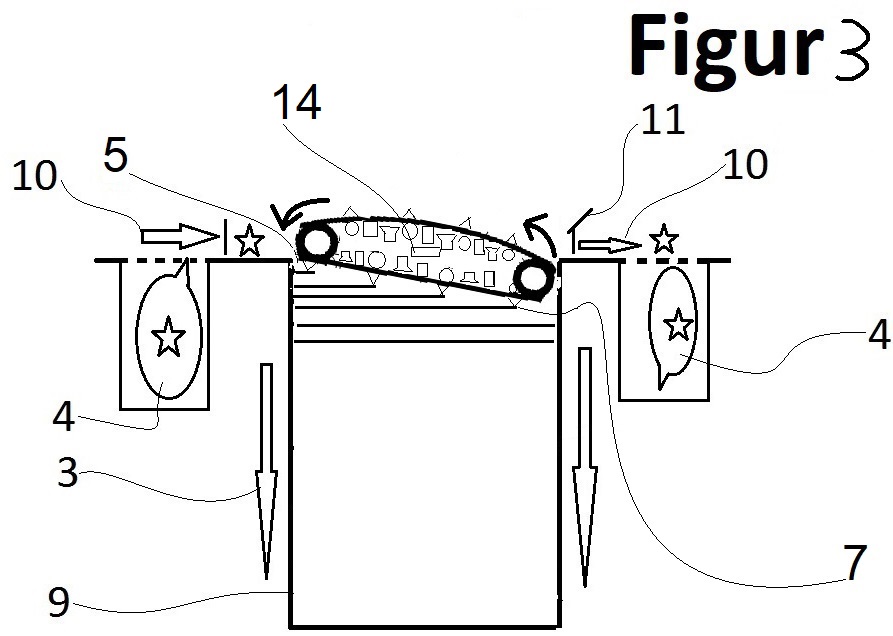
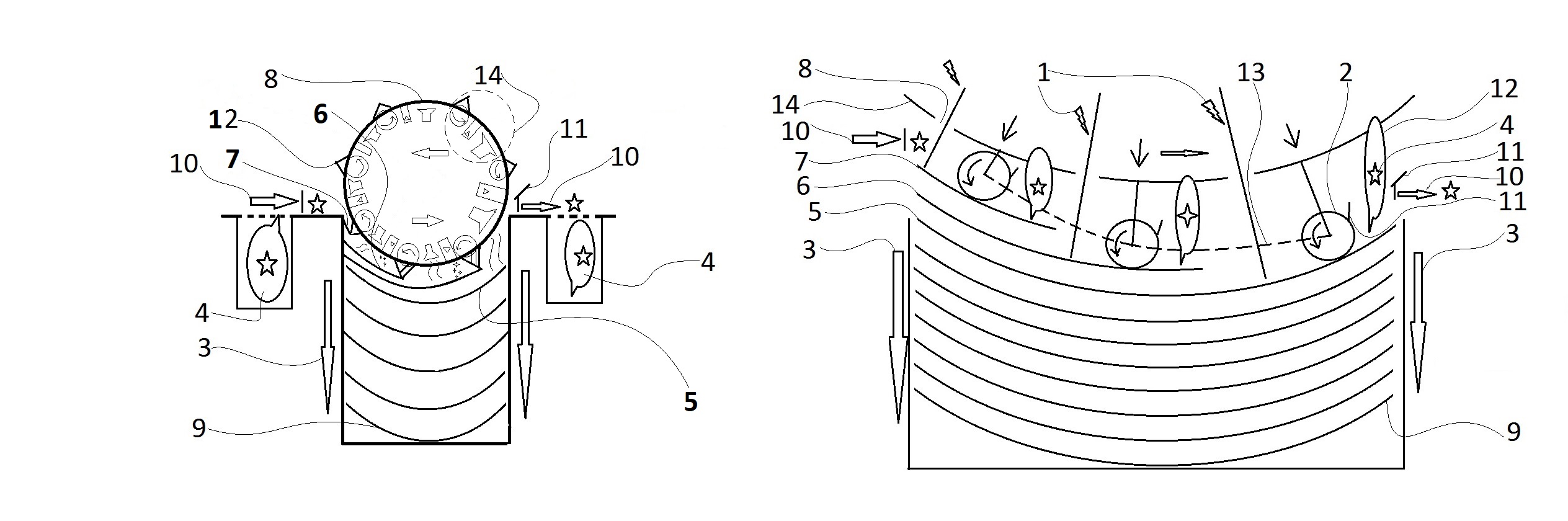
Fast and Continuously Printing Full Color Multi Material 3D SLS Printer

DE102016002598.0

The invention relates to three methods and appliances for layered production of three-dimensional objects - in particular curved layered - via a printing drum, direct laser sintering and continuous Z table subsidence. Or the production of planar layered objects by electrostatic charging and transfer of various (in terms of material properties and color) plastic powders onto a closed, continuous circumferential film as an intermediate carrier with balancing rollers to apply the heat to the print layer in cycles. The third method combines elements of the aforementioned technologies by allowing continuous printing of a cascade of laser drum pressure roll units built into the rotating drum. All three methods allow previously unattainable printing times, two even offer fast printing of a variety of material properties including full color printing.

 

feststofftrommeldrucker

DE102016015617.1

The invention relates to a method and apparatus for producing three-dimensional objects by means of a drum, in which print heads are cascadingly mounted consecutively over the printing length. A continuous rotation of the print head (1) in a drum generates the required centrifugal force (drop speed) to press melted substances (e.g. ABS granules) through a perforated plate of heads, that are located in the drum.

 

 

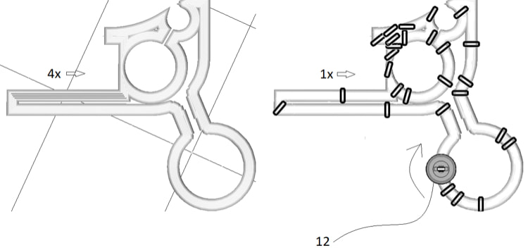
variable fdm düse

DE102017012061.7

The invention relates to a method and an apparatus for producing three-dimensional objects by means of a rotatable mold-variable nozzle head (12) for filament printers. The problem of the long printing times arises from the creation of offset - mostly later invisible - parallel paths for the purpose of stabilizing the shape of the pressure hull. The object of the invention is to reduce these parallel paths. The gradual web width increase is achieved by the gradually adjustable nozzle position (9) from 0° to 90°. A web width of 2mm already provides in most cases a sufficient wall thickness, also infill structures are now usually created with a single track, so that the device shows a lower recessed nozzle area of 0.4mm x 2mm. In most cases, the entire conventional printhead will not be 5% larger or 5% heavier after retrofitting the swivel nozzle.

 

continuous hss print

DE102018006091.9

The invention relates to a method and an appliance for the layered production of three-dimensional objects by means of powder, in particular curved layered by a printing drum. In the method of continuous high-pressure printing by a drum (8) (optionally with layers of different materials from drum integrated internal powder reservoirs), it is provided that the layer pressure takes place like a partial circle around the drum outer wall. During the layer creation the slide (printing bed) (3) continuously moves away layer by layer. The temperature fluctuation control (in the space between the uppermost powder layer and the outer wall of the drum) of + -1% of the sintering temperature (eg of PA12) is now easier to achieve because the print head as well as sintering and rolling unit no longer move in different directions, but only in one, and because the volume of air, usually needed by the SLS / HSS slide, now is based on the distance between the top powder layer and the drum outer wall. Also the process is easier because the whole unit can be built much flatter, and the drum can accommodate several roller, printhead and wave emitter units in a row so that several layers are created simultaneously. This bears the desired side effect that the cooling time is shortened and the sintering period can be extended favouring the quality of the print. The time for creating a layer can be increased, but the overall time of product compilation is considerably shortened by simultaneous layer creation on multiple locations. The extremely reduced cooling time due to the immediately following roller, print head and wave emitter unit has great positive effects on the temperature stability.

 

 

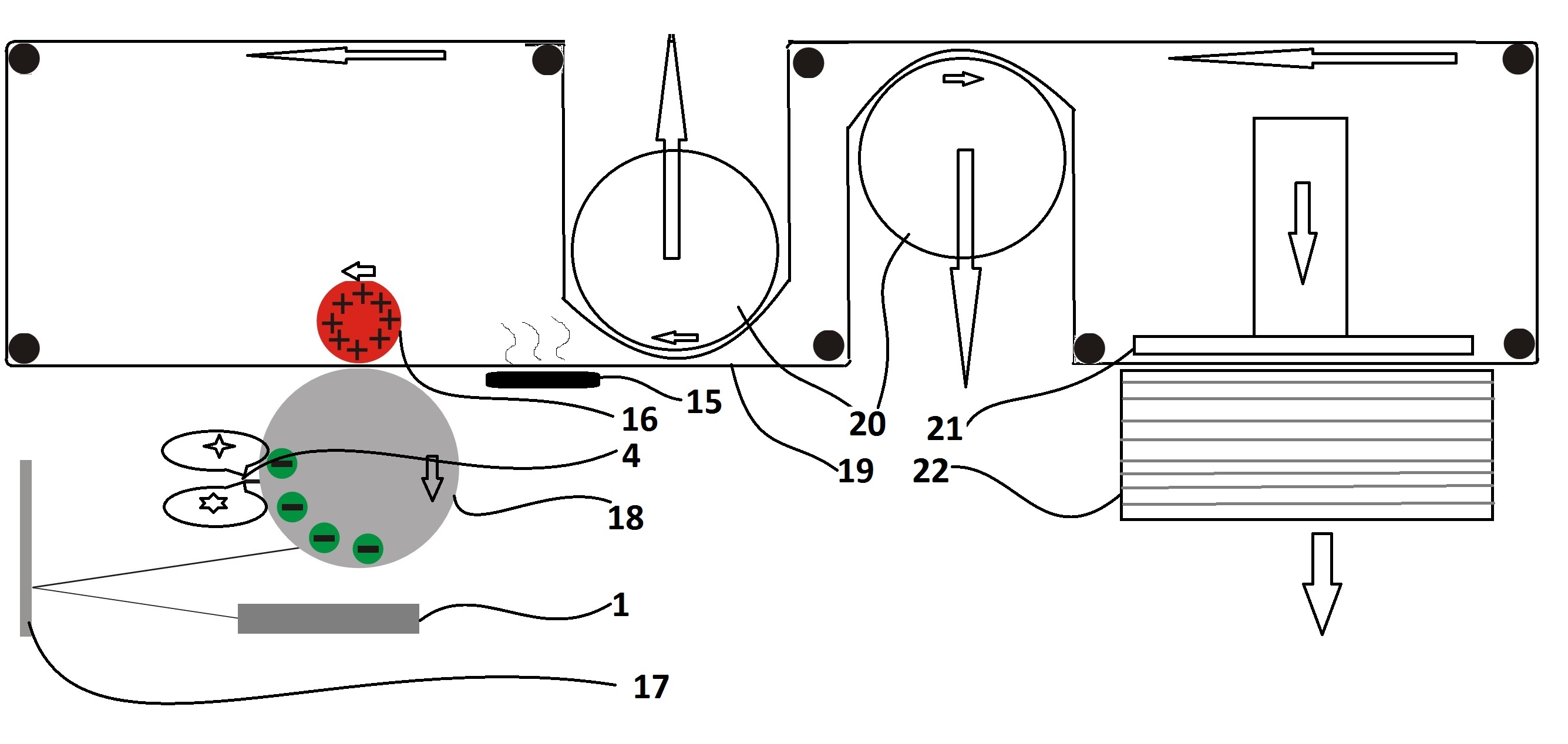
Hyperfusion 1

DE102018008594.6

Continuous cold laid micro-melt compacted 3D drum print of sinterable metal, plastic or ceramic powder The invention relates to a method and an apparatus for the layered production of three-dimensional objects, in particular curved layered by means of a printing drum and continuous Z-table lowering. This method allows unprecedented printing times of about 100ms per 1/4m² layer. With a quarter drum rotation per second and use of a quarter of the drum perimeter for ball layer laying with ten simultaneously active (layering) units of 10cm width plus four special units (evenly distributed on the total perimeter) for colors, metals, etc. layer creation times of a tenth of a second are to be expected. Based on a construction volume of 20L with 1m length (X) x 0.26m width (Y) x 0.8m depth (Z) and a layer thickness of e.g. 50μm via e.g. 60μm diameter layer balls the total building space (consisting of 16000 layers and 100ms/layer) will be built within 1600 seconds or just under 27 minutes. Depending on postprocessing, component complexity (assembly work saved) and component size, for the first time 3D printing can be faster than injection molding. Based on a lay-up time of 7.55 seconds of an HP Jet Fusion 4200 printer for a layer area of about 38cm x 28.4cm ~ 1080cm² ~ 143cm² / sec prints Hyperfusion with 111cm x 26cm = 2886cm² ~ 28860cm² / sec over 200 times faster.

 

 

Hyperfusion 2 carousel

DE102018010015.5

The invention relates to a method and a device for the layered production of three-dimensional objects, in particular planarly layered via a carousel for the purpose of simultaneous creation of multiple layers with continuous Z-table lowering.

 

Hyperfusion 3 hot carousel

DE102019002299.8

Continuous-cold-laid micro-melt-compacted 3D printing of sinterable metal, plastic or ceramic powder on an unheated powder bed through a printhead carousel. The invention relates to a method and a device for layered production of three-dimensional objects, in particular planar layered via a printhead carousel for the simultaneous creation of multiple layers with continuous Z-table lowering. The powder bed balls are binder-less locally targeted connected, WITHOUT bed heating and WITHOUT wave emitter (following the printhead)

 

6-Filament Print Head

 

A 6-filament print head for full color printing including support material and black and white. An extremely small, compact unit to be offered to all FDM manufacturers. Works with TMC stepper controllers, which are controlled via SPI and just one additional Chip Select line, so that each printer board can use the unit. Comes with an Arduino library as standard, which almost every FDM manufacturer can integrate with little effort. Version 2.0 with filament encoder with 2 full steps resolution. With automatic stall detection and prevention, so that temperature, pressure and filament feed controls enable a clean printing.

 

House Printer

 

Very similar to the gel robot printer, printing is carried out here with a flexible nozzle and a robot, which now receives material and energy through vertically aligned supply lines by means of a self-erecting crane. The material should consist of translucent, heat-insulating, earthquake-proof plastic, the structural strength is achieved through a skeleton construction. Of course traditional concrete can also be used.

 

MORE INFORMATION